Romana
English

Content on this page requires a newer version of Adobe Flash Player.

Get Adobe Flash player

 
VIBRATING DIAGNOSIS OF THE MECHANICAL LOOSENING
ON AXLES IN PAPER INDUSTRY
Authors: CRISTIAN BANARIE and DORIAN DIMA
Published: Buletinul Institutului Politehnic Iasi, publicat de Universitatea Tehnica „Gh. Asachi“, Iasi, Tomul XLX (LIV), Supliment I, 2004, Sectia Costructii de masini
Vibrodiagnoza slabirilor mecanice pe arbori in industria hartiei
(Rezumat)
Vibrodiagnoza slabirilor mecanice pe arbori reprezinta una dintre aplicatiile metodelor de diagnosticare a defectelor prin intermediul analizei vibratiilor. Analiza acestor tipuri de defecte a indicat existenta unor amprente si caracteristici specifice in spectrele de vibratii aferente utilajelor. Cunoasterea si identificarea acestor aspecte particulare in spectrele de vibratii ale utilajelor contribuie la functionarea instalatiilor in conditii de siguranta sporita.

Abstract: The vibration diagnostic of the mechanical loosenings on axles represents one of the applications of the methods to diagnose the faults using the vibrations analyses. The analyses of these types of faults indicated the existence of some marks and specific characteristics in vibrations spectra related to the equipment. The profound knowledge and the identification of these particular aspects in the equipment vibrations spectra contribute to the equipment running in increased safety conditions.
Keywords: looseness, vibration.

The present work discusses the principle to identify mechanical looseness through vibration analysis.

1. Technical aspects

A large range of faults specific to paper industry and especially to the equipment that had been continually repaired are those from the range of mechanical loosening on axles. This type of faults are seen by loosening of the bearings strengthening on axles, loosening of the bearings strengthening in housings, clearances between the axles and couplings, clearances between the axles and the driven elements (rotors in case of pumps and motors, tooth wheels in case of gears etc) or loosening of the intermediary elements or the safety elements (strengthening bushes, chocks etc.) These mechanical loosenings can cause, beside the rapid increase of the wears, the risk of faulting the components which are in interaction (especially at transmissions with tooth wheels).

The vibrations caused by the mechanical loosening on the axles are the most dangerous among the whole range of vibrations that have as main cause loosenings (structure loosening, loosening in setting the equipment) because they lead to additional stress of the axles and of the bearings. Among these two components, the bearings are the most sensible to impact stress and their presence leads to their rapid deterioration. In this way, the increase of vibrations level leads to reduction of the bearings lifetime, through the factor a3v (coefficient for adjusting the bearing lifetime according to the running in vibrations conditions) according to the well-known relation of rating the life time, mentioned below:

, where     (1)

It is mentioned that a3V is a proper factor and refers to the influence of the amplitudes of the vibrations acceleration over the lifetime.

2.  Description of solution for identification of the fault by vibrations analyzing

The collecting of data from the equipment subject to monitoring, has been done in the following vibrations ranges: speed (FFT), acceleration (FFT and variation in time), acceleration with filters adding 50 - 1 kHz and 500 – 10 kHz together with the demodulation of the signal (“enveloping”). The frequency ranges chosen for these collections have been chosen in order to cover the whole displaying range of these faults, not only those related to mechanical loosenings. After collecting the data from the equipment and their transfer to the processing system on which the application PRISM R 4 works, the step of faults analyzing and diagnostic is started.

The general characteristic of the mechanical loosenings on the axles in vibrational spectra is represented by the increase of acceleration amplitude in the range of fundamental frequency (rotation frequency of the axle), and of its combination tones. This action is in close connection to the loosing of a part of the rotation energy – energy that represents the principal flux that traverses the axle – through micro-displacement of the axle in the area offered by the existent clearances. These displacements have very low values, from a few microns up to tenths of milimeters, what makes these vibrations to have as source the shocks due to these displacements and not displacements of some big dimensioned masses and implicitly energy transfer as in the case of structural loosening or fixings loosenings, vibrations that appears more evidently in the speed spectra, too.

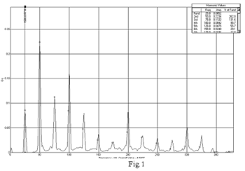
As a consequence, the identification of such faults starts by analyzing the vibrations spectra in FFT acceleration. In order to present the displaying mode of these faults in a correct way, we will use the spectra of a single equipment (an electrical motor of 15 kW and speed of 1500 rot/min.). In Figure 1 it is represented such a spectrum that presents the typical acting mode of such a fault. The occurrence of such a fault is characterized by a high amplitude of acceleration in the range of fundamental frequency (in our example at a frequency of 25 Hz corresponding to a speed of 1500 rot/min.) and its multiples (up to the thirteenth multiple). The acceleration amplitude of multiples 2, 3 and 4 and of the main overtone amplitude are bigger than of the main overtone amplitude that makes this type of loosening be positioned in the area of the bearing and manifested as a clearance between the bearing housing and the axle bearing and the bearing.

In figure 2 it is represented the spectrum in enveloping FFT of the same equipment. It is identified the increase of value in enveloping in the fundamental frequency range, but also in increase of values in its combination tones ranges – more evidently are the combination tones 2 – 8. In the same time the fault can be detected: if the odd overtone is the dominant, as well as its multiples, the loosening is between axle and bearing (insufficient strengthening between axle and bearing); if the fourth overtone is the dominant as well its multiples (the 4X multiples), the loosening is placed between the bearing housing and the bearing; if the second and the third overtone are considered to be the dominant, without their dominant multiples, the loosening is on the coupling for motion conduction; if the main overtone amplitude is the dominant and the fundamental frequencies of the transmission with teeth wheels (Gear Mesh Frequency ) and its upper overtones are activated, the clearance is between the axle and the teeth wheel.

The representation of the FFT speed spectrum – figure 3 – highlights speed values in the range of the fundamental combination tones as well as of the combination tones 2, 3, 4 and 5, but it doesn’t offer sufficient information about the causes. In this way, in our example, the equipment has other faults too, distinguished in this spectrum, which don’t belong to the category of mechanical loosenings on axles. However, the occurrence of the combination tones superior to the main overtone indicates the existence of a loosening, its confirmation and placing being made using the above-mentioned spectral representations in acceleration and enveloping.

The representation and analyses of the acceleration variation spectrum, filtrated and demodulated in time (enveloping) – figure 4 – certifies the fault and locates it. In this way, on this spectrum it is identified the variation mode of the acceleration in time as well as the dominant overtone and implicitly the effect of the fault. The coordinates of the main overtone as well as the coordinates of the combination tones 2, 3 and 4 are represented in the figure, and it is detected that the fourth overtone is the one that initiates the cycle.

The characteristic aspects of the acting mode of such faults for other equipment are represented in the four figures:

3. The advantages of the mechanical loosenings diagnostic

The diagnostic of the mechanical loosenings using this method has the following advantages:

  • reduction of the equipment maintenance costs;
  • the increase of the safety in the equipment functioning;
  • the reduction of the bearings wear and of other elements with functioning conditioned by them;
  • reduction of the equipment down-time as a result of unplanned interventions;
  • the increase of the finite product quality.

References
1.    NTN Communications, Inc 2003 – Bearings
2.    SKF Reliability Systems, San Diego 2002 – condition Monitoring

 
Vibrotest S.R.L. © 2010 • All rights reserved
 
 
Romanian technical representative for
FIXTURLASER
 
We are pleased to announce the launch of our new website on Monday, May 3rd...

Varna 2010!
Considering the success of the Primagra-Vibrotest seminar, in Varna, every year, we decided planning the third edition this summer...
We are pleased to announce the succesful ending of the second edition of the Primagra-Vibrotest seminar, organized in Varna, Bulgaria...
 
Search
 
Partners
SPM Instrument has more then 40 years of experience with machine condition monitoring and close cooperation with our customers in all fields of industry. Qualified sales and service representatives in more than 50 countries look forward to helping out. We provide all technical service, support and training you may need to become your own condition monitoring expert.

Primagra Company, founded in 1997, has as its object of activity the trade of a diversified scale of bearings, assembling-disassembling bearings tools, accessories, lubrication products, belts and oil retainer rings.